“十里挑一”入选标普可持续发展年鉴,爱尔眼科ESG成色几何?
爱尔眼科员工性别比保持健康,女性员工占比76.2%,这也与医疗服务行业的工作性质存在天然关系,但这一数据在管理岗却急剧收缩——集团副总监及以上的女性高管仅占36.4%,多数核心职位均为男性,这种反差现象或折射出晋升通道中存在隐性壁垒的治理缺陷。
5月13日,标普全球(S&P Global)的《可持续发展年鉴(中国版)2025》在深圳发布,爱尔眼科(300015.SZ)以1662选164的筛选率成功入选,这家市值超千亿的医疗巨头也因此站到了ESG的聚光灯下。

图片来源:爱尔眼科公众号
这已是该年鉴发布的第三年,爱尔眼科终于跻身其中,但仔细翻看爱尔眼科最近披露的《2024年度可持续发展报告》,会发现这家“眼茅”企业在展现成绩的同时,也暴露出在气候行动、高管性别结构、客户投诉等多方面的ESG困境,以及其在资本规模扩张与可持续发展间的深层矛盾。
气候承诺“口号化”
截至2024年12月31日,爱尔眼科品牌医院、眼科中心及诊所在全球范围内共有974家,其中中国内地811家。作为全球最大眼科连锁机构,爱尔眼科2024年的经营业绩喜忧参半。营业收入上升至接近210亿元,同比增长3.02%,再创历史新高;但扣非净利润降至不足31亿元,同比下滑11.82%;经营性净现金流降至不足49亿元,比上年同期减少近10亿元,同比下滑16.86%。

图片来源:爱尔眼科2024年年报
与之对应的,公司2024年温室气体排放量为98,910.24吨二氧化碳当量,相当于每亿元营收产生471吨二氧化碳当量的排放。这一组数据和2023年行程鲜明对比,不管是范畴一、范畴二、总排放量,亦或是总排放强度(单位营收排放量),都存在明显攀升,这反映出公司2024年并未展现出减排的决心和执行力,因此对其在未来短期内的减排能力也有理由保持怀疑。

图片来源:爱尔眼科2024年ESG报告
尽管ESG报告中提出“2030年碳达峰、2060年碳中和”的目标,但整体来看,其减排目标的设定仍较为模糊,仅采用“‘争取’实现每万元营收产生的温室气体总排放量年均递减5%”等笼统表述,缺乏明确的量化指标与清晰的实施路径。
在资源利用方面,尽管公司积极推进分布式光伏发电系统建设,但可再生能源的使用量占比依然较低。2024年可再生能源消耗量仅为41,045千瓦时,相较于外购电力166,321,902千瓦时的巨大体量,占比甚至不足万分之2.5,几乎可以忽略不计。

图片来源:爱尔眼科2024年ESG报告
这种“高营收、高排放”的增长模式,与可持续发展理念中倡导的“经济-环境协同”形成悖论,也暗示爱尔眼科在能源结构优化方面可能仍有很长的路要走,若想真正实现绿色转型,需要在减排和提升可再生能源使用上制定更具雄心的目标,并配套相应的实施策略,否则环保效果恐沦为空谈。
高管性别天平失衡
爱尔眼科员工性别比保持健康,女性员工占比76.2%,这也与医疗服务行业的工作性质存在天然关系,但这一数据在管理岗却急剧收缩——集团副总监及以上的女性高管仅占36.4%,多数核心职位均为男性,这种反差现象或折射出晋升通道中存在隐性壁垒的治理缺陷。
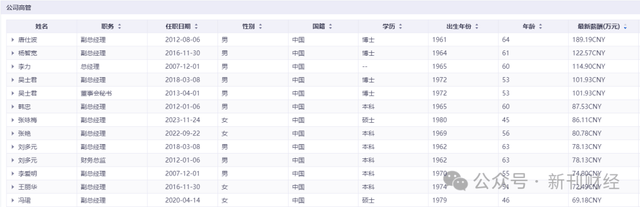
这一点在现任管理层资料中也得以印证,公司高管团队共13人,其中女性仅4人。若将13人的薪酬从高到低排序,前6名都是男性,最后2名都是女性,或暗示了公司内部的职业发展天花板效应。

图片来源:同花顺iFind
这种结构性失衡不仅违背ESG“多元包容”原则,更可能影响企业战略决策的多样性。当医疗行业正面临以患者体验为核心的转型,女性高管在服务创新、风险管控方面的独特视角未被充分激活,实为资源错配。
在员工福利与健康管理方面,爱尔眼科似乎也存在一定程度的失衡。报告中,对于普通员工,尤其是基层员工的健康和福利措施描述较为笼统,未提及除基本社保外是否有额外的健康保障措施,如针对眼科医护人员因长期接触医疗设备辐射或近距离用眼可能导致的职业病预防和治疗方案。
此外,尽管设立了员工心理关爱项目,但主要以提供心理咨询服务、开展心理健康讲座等形式为主,缺乏针对不同岗位、不同工作压力员工的个性化支持。如手术室医生和护士面临的高强度工作压力与普通行政人员存在显著差异,但在心理关爱项目中并未体现相应的差异化关怀策略,尤其是在女性员工数量更多的一线。这种的福利模式可能无法全面保障所有员工的身心健康,长此以往,或影响基层员工的长期身心平衡、工作积极性和忠诚度等。
患者满意度“极高”
截至发稿日,在黑猫投诉平台,2025年以来对爱尔眼科的投诉达9起,投诉者中包括质疑医生不专业、不负责任的孩子家长,有人指责爱尔眼科的医生在配镜过程中出现多处技术性失误,导致孩子在视力和心理方面均受到明显影响,而且院方在协商解决方案时,对孩子已经遭受的伤害只字不提。

图片来源:黑猫投诉平台
另外在12315投诉平台,2025年以来对爱尔眼科的投诉也达11起,投诉内容涵盖合同、服务、商品、价格都多个方面,或反映出公司的品控及监管体系存在多处漏洞。

在爱尔眼科的ESG报告中,其披露2024年各类患者投诉共914起,投诉占比低至十万分之五,其中处理率高达98%;另有对160余万人次的满意度调查,得到的患者满意度高达99%。
但公司并未披露调查的参数及第三方审核信息,如此大规模的调查,其结果可能受问卷设计、样本筛选、调查方式、数据归集等多方面影响,单一高数据若缺乏方法论支撑和透明度,恐令调查结果的含金量有所折扣。
通过可持续发展报告,可以看出爱尔眼科在ESG实践中的确付出努力并取得了一定成绩,但也暴露出诸多亟待解决的问题。这也恰似其商业模式的矛盾,一方面以规模化扩张实现社会价值触达,另一方面却暴露出“规模不经济”的ESG悖论。同时这一矛盾也折射出中国医疗企业的普遍性问题,在合规性框架下完成规定动作有余,在突破性创新与系统性治理不足,而唯有突破应试思维的桎梏,才有可能真正把握ESG的战略价值,为企业可持续增长助力。
作者 | 魏思
编辑 | 吴雪
(责任编辑:华青剑)
手机看中经
经济日报微信
中经网微信









